$page_title = "XGT-C Flexible Coupling";
$page_description = "";?>
XGT-C Flexible Coupling
$page_title = "PBA Leader Motion";
$page_description = "";?>
PBA Leader Motion
High - Gain Rubber Type - Standard Type
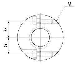
DIMENSIONS
| Part Number ⇚1 |
A |
L |
W |
F |
G |
M |
Screw Tightening Torque (N•m) |
| XGT-15C |
15 |
6.5 |
23 |
2.15 |
5 |
M1.6 |
0.25 |
| XGT-19C |
19 |
7.7 |
26 |
2.65 |
6.5 |
M2 |
0.5 |
| XGT-25C |
25 |
9.5 |
32 |
3.25 |
9 |
M2.5 |
1 |
| XGT-30C |
30 |
11 |
36 |
4 |
11 |
M3 |
1.5 |
| XGT-34C |
34 |
12 |
38 |
4 |
12.25 |
M3 |
1.5 |
| XGT-39C |
39 |
15.5 |
48 |
4.5 |
14.5 |
M4 |
2.5 |
| XGT-44C |
44 |
15 |
48 |
4.75 |
16 |
M4 |
2.5 |
| XGT-56C |
56 |
19.5 |
60 |
5.5 |
20 |
M5 |
7 |
PART NUMBERING
| Part Number |
Standard Bore Diameter D1-D2 ⇚2 |
| XGT-15C |
3-5 |
3-6 |
4-4 |
4-5 |
4-6 |
4.5-5 |
5-5 |
5-6 |
6-6 |
|
| XGT-19C |
4-5 6.38-8 |
4-8 8-8 |
5-5 |
5-6 |
5-7 |
5-8 |
6-6 |
6-6.35 |
6-7 |
6-8 |
| XGT-25C |
5-6 8-10 |
5-8 8-11 |
6-6 8-12 |
6-8 10-10 |
6-10 10-12 |
6-11 12-12 |
6-12 |
6.35-8 |
6.35-10 |
8-8 |
| XGT-30C |
8-8 10-15 |
8-10 11-12 |
8-11 12-12 |
8-12 12-14 |
8-14 12-15 |
8-15 14-14 |
10-10 14-15 |
10-11 15-15 |
10-12 |
10-14 |
| XGT-34C |
8-8 10-15 |
8-10 11-11 |
8-11 11-12 |
8-12 12-12 |
8-14 12-14 |
8-15 12-15 |
10-10 14-14 |
10-11 14-15 |
10-12 15-15 |
10-14 16-16 |
| XGT-39C |
10-10 12-20 |
10-12 14-14 |
10-14 14-15 |
10-15 14-16 |
10-16 15-15 |
12-12 15-16 |
12-14 15-19 |
12-15 16-16 |
12-16 17-17 |
12-19 20-20 |
| XGT-44C |
12-12 15-19 |
12-14 15-20 |
12-16 16-16 |
12-19 16-19 |
14-14 17-17 |
14-15 19-20 |
14-16 20-20 |
14-19 |
15-15 |
15-16 |
| XGT-56C |
15-15 |
15-19 |
15-20 |
15-25 |
19-20 |
19-24 |
20-20 |
20-25 |
24-25 |
25-25 |